李易峰嫖娼被拘,多品牌宣布:终止合作!以身试法,必然凉凉!
北京日报微信公众号 | 记者 张力

2022-09-11 22:36 语音播报

热点
进入
北京日报微信
看更多
+ 订阅

9月11日,北京警方通报,演员李某某因多次嫖娼被行拘。据央视报道,经记者通过权威渠道了解到,李某某为李易峰。

警方通报后,与李易峰有合作的品牌方纷纷发表声明,终止与李易峰的所有合作关系。

多品牌纷纷宣布:

终止与李易峰合作!

9月11日晚,认证为内蒙古蒙牛乳业(集团)股份有限公司的@真果粒发声明称,即日起终止和李易峰所有合作关系。

京都念慈菴也发布声明称,即日起终止与李易峰的一切合作关系。

舒适达品牌:即日起终止与李易峰的一切商务合作关系,特此声明。

HONMA高尔夫宣布,即日起终止所有与李易峰的品牌合作关系。

普拉达微博宣布,PRADA普拉达与李易峰已结束所有合作关系。

猎聘APP表示,猎聘与李易峰的代言合作已于2022年7月3日到期,相关宣传已随合同到期终止。

手表品牌沛纳海:即日起终止与李易峰的所有合作关系。

六福珠宝官方微博表示,已终止与李易峰的所有合作关系。

此外,还有鸭鸭羽绒服、康巴赫等品牌发声明与李易峰解除合作。

李易峰此前曾发文“辟谣”

警方通报让辟谣显得无比可笑

而就在10日深夜,李易峰曾发过两份声明辟谣,结果均被撤下。

中国新闻网评论称,平安北京的通报,让李易峰和团队之前的辟谣显得无比可笑。不超越道德底线、不触碰法律红线,这是做人的基本准则。作为一个公众人物,李易峰更应知晓其中的道理。但在违法行为发生之后,李易峰非但没有认真反思自己的过错,反而希望“大事化小,小事化了”,通过种种行为抹去违法痕迹。犯错之后不知悔改,要比单纯犯错更不可原谅。

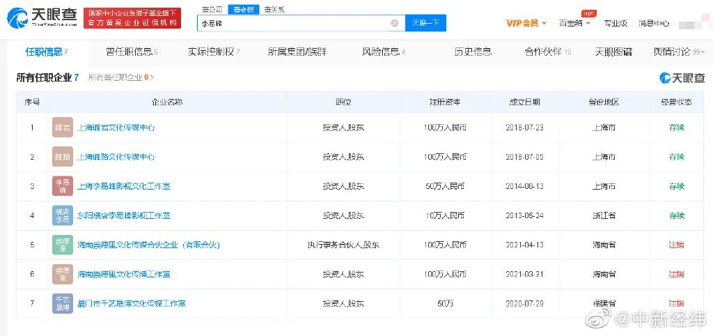
据@中新经纬 报道,天眼查App显示,李易峰共关联7家企业,其中4家为存续状态,包括上海峰岩文化传媒中心、上海峰路文化传媒中心、上海李易峰影视文化工作室、东阳横店李易峰影视工作室,上述4家企业均为李易峰个人独资。值得一提的是,李易峰3家注销状态的企业均注销于今年3月、4月,其中,厦门市千艺晟博文化传媒工作室注销于3月15日,海南崇德里文化传播工作室、海南崇德里文化传媒合伙企业(有限合伙)于4月12日同一天注销。

京报锐评:

法律面前无“顶流”

德不配位,必有灾殃。李易峰作为新生代演员,戏演得不少,奖拿得不少,近些年来更靠“正派阳光”的人设吸粉无数。可就是这样一个“顶流”,却丝毫不爱惜羽毛,不懂洁身自好,视法律于无物,置公德于不顾,实在令人大跌眼镜。

从艺有门槛,做星先做人。明星作为公众人物,很大程度就是靠知名度和美誉度吃饭的,言行举止都称得上是一种价值输出。特别是很多鲜肉、小花有大批青少年粉丝,更要在荧幕上下自我约束、做好表率。可近些年来,这星那星曝出的丑闻不少,作奸犯科的也大有人在,嫖娼、吸毒、偷逃税……某些人一有点小名,就开始飘了,以为出点什么事发个声明也就过去了。然而,法律面前可没有什么“顶流”。就拿李易峰来说,此前的“辟谣”还振振有词,可如今“实锤”面前,不仅要受到法规制裁,与之合作的品牌商也纷纷宣布解约。

法须敬,律须畏,千万别想当然,抱侥幸。眼下,关于李易峰的舆论仍在发酵,我们相信,法网恢恢,疏而不漏;也再次提醒“李易峰们”:以身试法,必然凉凉!

北京日报(ID:Beijing_Daily)评论员 关末,部分综合@中新经纬、中国新闻网、@真果粒、@京都念慈菴、@舒适达、@Prada普拉达等【转载请注明来源北京日报微信公众号】


编辑:张力

打开APP阅读全文
APP内打开