2022-11-25 17:35
继周一指数正式上线后,周五首批北证50成份指数基金获批——北交所指数投资时代即将开启。
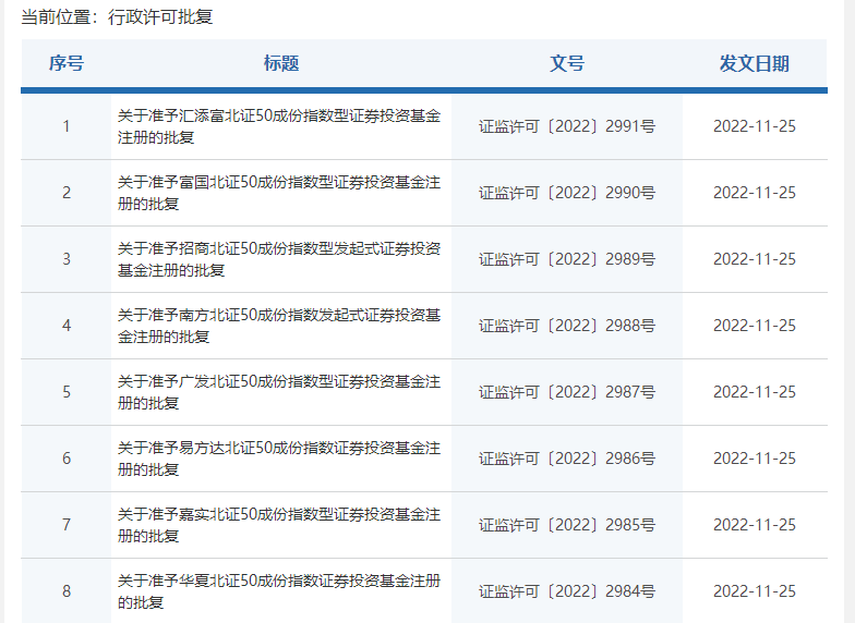
11月25日,证监会网站显示,易方达、南方、华夏、广发等8家基金公司申报的北证50指数基金获批发行。业内表示,新基金的获批发行,不仅将继续为北交所注入新的资金活水,同时也将便利普通投资者参与北交所市场,分享创新型中小企业的成长红利。
将为北交所引入更多长期资金
作为北交所首只指数,北证50由北交所规模大、流动性好的最具市场代表性的 50 只上市公司股票组成。截至2022年11月21日,指数成份股覆盖16个细分领域,包括机械设备、医药生物、电力设备、基础化工、汽车、电子、国防军工、食品饮料等,平均总市值为27.23亿元。
易方达指数研究部总经理庞亚平表示,北证50指数成份股总市值、营业收入、净利润、研发支出占当前北交所市场整体比重均在65%至70%,具有较好的代表性。同时,成份股主要集中于战略新兴行业,具有突出的创新和成长属性。

作为国内首批跟踪北交所核心宽基指数的产品之一,广发基金指数投资部总经理助理刘杰认为,北证50指数是全市场首只表征北交所整体走势的重要宽基指数,广发北证50指数等相关产品的获批,一方面能为北交所市场引入更多被动投资长期资金,提高市场流动性,营造有利于科技型中小微企业成长的良好环境;另一方面,也能为普通投资者借道指数基金,分享我国创新型中小企业加速成长的时代红利提供便利。
在北证50成份指数成份股中,工信部发布的专精特新“小巨人”公司数量达17家,占比34%。未来,随着更多“专精特新”型企业在北交所挂牌上市,样本股中有望吸纳更多“专精特新”型企业。华夏基金数量投资部总监李俊表示,北证50指数的重要意义在于,可以发挥金融市场服务实体经济功能,引导公募、保险、银行等社会资金流向“专精特新”等创新型中小企业,解决中小实体融资难的发展困局。
普通投资者可“一键配置”北交所公司
早在北交所开市之初,公募基金就已积极参与布局。首批北交所主题基金的推出,为投资者带来了低门槛参与北交所投资的新选择。业内认为,北证50成份指数基金将为投资者提供一键配置北交所上市公司的便捷工具,有利于投资者分享中小型创新企业的成长红利。
目前,全市场已有10只北交所主题基金,与主动管理基金相比,北交所指数产品有何优势和特点?
南方基金表示,主动管理基金与被动指数基金的投资目标、投资策略等不同。指数基金进行被动式指数化投资,紧密跟踪标的指数,原则上采用指数复制法,按照成份股在标的指数中的基准权重构建指数化投资组合,并根据标的指数成份股及其权重的变化进行相应调整。与主动管理基金相比,指数基金具有指数编制方法公开、客观、透明的特点。此外,指数基金的管理费等费率一般而言低于主动管理基金。
图片来源:证监会官网截图